在民用核能领域,2014年,美国司法部指控阿尔斯通分公司涉嫌在印度尼西亚、埃及、沙特阿拉伯等国通过贿赂手段获得总额超过40亿美元的工程合同,违反了美国的《反海外腐败法》。2014年12月22日,阿尔斯通承认存在海外行贿行为,并接受美国司法部7.72亿美元罚款。这是当时美国政府对企业海外贿赂行为开出的最大罚单。
在电信设备领域,2010年,美国司法部和证券交易委员会(SEC)经调查发现,阿尔卡特(Alcatel)于2001年至2006年向哥斯达黎加、洪都拉斯、中国台湾和马来西亚等地企业行贿,以换取电信设备建设合同,并向阿尔卡特开出1.37亿美元罚单。美国司法部和证券交易委员会由此分别得到9200万美元和4500万美元的罚款。
在能源领域,美国司法部以违反《反海外腐败法》为由,指控道达尔从1995年至2004年向伊朗官员行贿6000万美元,以获取伊朗境内的三处油气田开采权。2013年,道达尔与美国司法部达成暂缓起诉协议,缴纳总计3.982亿美元的罚款。
德西尼布集团(Technip)是法国负责石油和天然气项目工程建设的顶级工业企业,是法国执行石油发展战略的中坚力量。自2010年起,美国司法部和财政部开始对集团从1994年至2004年在尼日利亚的腐败行为展开调查。最终,德西尼布与美国司法部和财政部达成暂缓起诉协议,认罚3.38亿美元。被罚后,集团国际信誉大减,业绩严重下滑,2016年被美国美信达公司(FMC Technologies)收购,总部迁出法国,变为一家美国企业。
在生物医药领域,2016年,美国证券交易委员会发起对赛诺菲(Sanofi)旗下位于哈萨克斯坦、约旦、黎巴嫩、巴林、科威特、卡塔尔、也门、阿曼、阿联酋与巴勒斯坦的子公司在2006-2015年间的行贿活动调查,内容涉及贿赂政府采购官员和医疗提供商等。2018年,赛诺菲与美国证券交易委员会达成和解协议,在不承认或否认犯有任何罪行的条件下同意支付2520万美元以结束调查,并做出加强内部管控和反贿赂机制的承诺。
(二)银行业沦为“次级制裁”的“重灾区”
美国利用《赫尔姆斯—伯顿法》《达马托—肯尼迪法》《伊朗自由和支持法》《伊朗全面制裁、问责和撤资法》《国际紧急经济权力法》等制裁性法律,将古巴、伊朗、利比亚、苏丹、叙利亚等国列入制裁黑名单,明确禁止与特定国家的经济交往。同时,美国财政部建立海外资产控制办公室(Office of Foreign Assets Control, OFAC),专门负责对禁运国家实施制裁,并禁止任何国家的企业与黑名单国家中的个人、企业往来,否则将招致“次级制裁”。
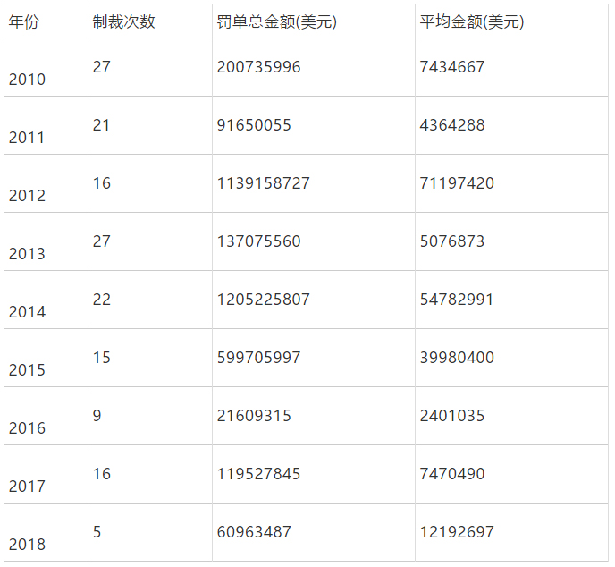
表2 2010-2018年美国财政部海外资产控制办公室实施制裁情况
资料来源:作者根据United States Department of the Treasury数据整理所得。
美国长期锁定一批欧洲大型银行,就这些银行是否违反美国经济制裁规定展开跟踪调查。其中,因与相关黑名单国家存在金融往来,法国银行业成为“次级制裁”的“重灾区”。2014年,法国巴黎银行被美国司法部指控,在2004年至2012年期间巴黎银行总行和日内瓦分行利用美国金融系统为伊朗、苏丹和古巴三国相关实体提供账户、信用证、资金支付等金融服务并转移约64亿美元资金,违反了美国《国际紧急经济权力法》和《对敌贸易法》。随即,美国司法部向巴黎银行开出89亿美元的天价罚款,成为其司法史上向外国银行开出的最大金额罚单。除缴纳罚金外,巴黎银行所受处罚还包括13名高管被迫离职、为期一年禁止在美国从事美元结算业务。作为当时欧洲第一大银行的法国巴黎银行受到沉重打击。2013年,该银行全球净收入为5.4亿欧元;2014年,因巨额罚金净收入骤降至0.5亿欧元。
表3 2010年以来因违反国际制裁被美国开具的最大罚单
资料来源:作者根据法国财政检查总署(IGF)数据整理所得。
据美国司法、金融监管和执法机构的联合调查,法国兴业银行(Société Générale)在2003年至2013年期间,以不正当、不透明的方式执行了超过数万笔跨境美元付款,价值超过数百亿美元,其中大部分涉及伊朗、古巴、苏丹等当时被美国制裁的国家实体,为受制裁实体带来了巨大经济利益。2018年,法国兴业银行与美国财政部、美国司法部、美联储和纽约州金融服务局达成一揽子和解协议,兴业银行认缴13.4亿美元的罚款,美国检察机关暂缓对其进行刑事指控。继巴黎银行之后,兴业银行成为美国司法史上第二大制裁合规罚款对象。

