Chinese invention patent: Driving micro pump of photoinduced bending film
Inventor: Yanlei Yu, Yutian Zhu, Xiaoying Li, Yuanyuan Zhang, Maolin Chen, Xing Xing, Haitao Huang, Heng Liu
Applicant: Fudan University
Patent No.: ZL 200910199053.X
Abstract:
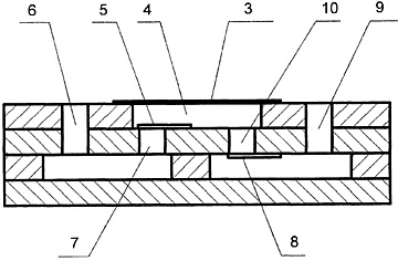
The invention discloses a driving micro pump of a photoinduced bending film, which belongs to the technical field of micro mechanics. The micro pump mainly comprises a pump film, a pump cavity, an inlet, an outlet and the like, wherein the pump film of the micro pump is formed by partially compounding a photoinduced bending deforming material layer and a flexible polymer material layer; and the pump film periodically heaves and restores by periodically irradiating ultraviolet light and visible light. The driving micro pump has the advantages of simple structure and process, low power consumption, easy operation and control and long service life.
