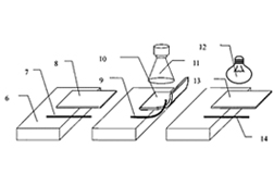
Driving micro pump of photoinduced bending film
Amphipath block copolymers, congeries material thereof, prep...
Recyclable photo-induced deformation liquid crystal macromol...
Photo-induced deformation liquid crystal macromolecular mate...